NIEDAX Flanschkralle AH-1420
Art.Nr.: 484521
Inhalt: 100 Stk.
Kurzfristig lieferbar Lieferzeit: 7-14 Arbeitstage
Flanschkralle AH-1420
Hersteller: NIEDAX
Hersteller-Art.Nr.: AH-1420
EAN: 4013339744565
Ursprung: Großbritannien
Zolltarif: 73269096
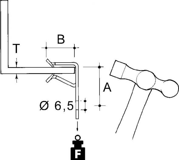
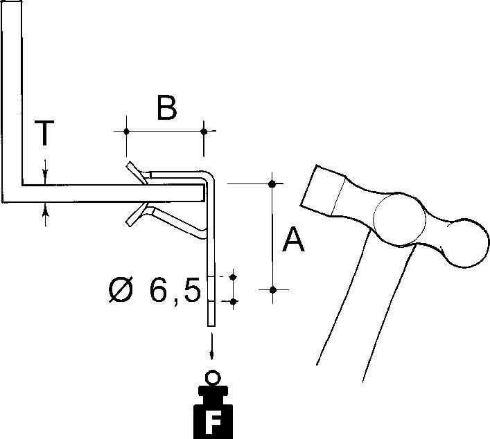
E-Klips, Flanschkralle, zum Aufschlagen mit dem Hammer auf verschiedenste Trägerflansche. Abmessungen (ca. Maße) für Flanschstärke T : 14 - 20 mm Aufschlagtiefe B : 26,6 mm Befestigungslochung : Ø 6,5 mm Lochabstand zur Flanschoberfläche A : 30 mm Tragfähigkeit F : 0,9 kN Werkstoff : Stahl, mechanisch verzinkt/passiviert nach DIN EN ISO 9227
| Merkmale: | |
| Befestigungsart | Federklemme |
| Anschlussart/-bauteil | Kette |
| Gewindemaß (metrisch) | 6,5 |
| Geeignet für Flanschstärke | 14..20 mm |
| Scharnierend | nein |
| Scharnier justierbar | nein |
| Werkstoff | Federstahl |
| Werkstoffgüte | sonstige |
| Oberflächenschutz | galvanisch/elektrolytisch verzinkt |
| Bruchlast | 900 N |
NIEDAX GmbH & Co. KG
Asbacher Str. 141
53545 Linz/Rhein
Land: DE
E-Mail: info@niedax.de
www.niedax.de

























