NIEDAX Kabelbefestigung AH38-CT2
Art.Nr.: 488586
Inhalt: 25 Stk.
Kurzfristig lieferbar Lieferzeit: 7-14 Arbeitstage
Kabelbefestigung AH38-CT2
Hersteller: NIEDAX
Hersteller-Art.Nr.: AH38-CT2
EAN: 4013339751969
Ursprung: Großbritannien
Zolltarif: 73269096
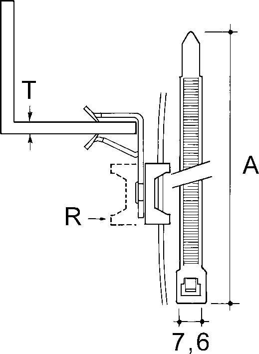
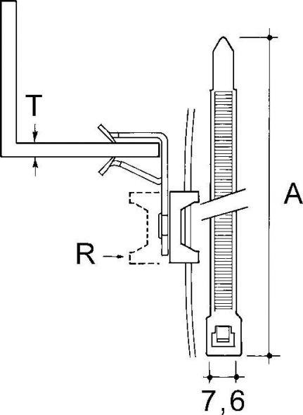
E-Klips, Flanschkralle mit Anschlussstück und Kabelbinder, zum Aufschlagen mit dem Hammer auf verschiedenste Trägerflansche, mit an der Vorderseite angebrachtem Anschlussstück aus Kunststoff und Kabelbinder für die Befestigung von Kabel und Leitungen, Anschlussstück und Kabelbinder halogenfrei. Abmessungen (ca. Maße) für Flanschstärke T : 3 - 8 mm Kabelbinderlänge A : 200 mm Kabelbinderbreite : 7,6 mm Werkstoff Flanschkralle : Stahl, mechanisch verzinkt/passiviert nach DIN EN ISO 9227 Werkstoff Anschlussstück/Kabelbinder : PA (Polyamid)
| Merkmale: | |
| Befestigungsart | Federklemme |
| Anschlussart/-bauteil | Kabelbinder |
| Geeignet für Flanschstärke | 3..8 mm |
| Scharnierend | nein |
| Scharnier justierbar | nein |
| Werkstoff | sonstige |
| Werkstoffgüte | sonstige |
| Oberflächenschutz | sonstige |
NIEDAX GmbH & Co. KG
Asbacher Str. 141
53545 Linz/Rhein
Land: DE
E-Mail: info@niedax.de
www.niedax.de

























