NIEDAX Rohrbefestigung EH1420-RCC13
Art.Nr.: 488760
Inhalt: 25 Stk.
Kurzfristig lieferbar Lieferzeit: 7-14 Arbeitstage
Rohrbefestigung EH1420-RCC13
Hersteller: NIEDAX
Hersteller-Art.Nr.: EH1420-RCC13
EAN: 4013339751044
Ursprung: Großbritannien
Zolltarif: 73269096
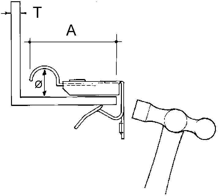
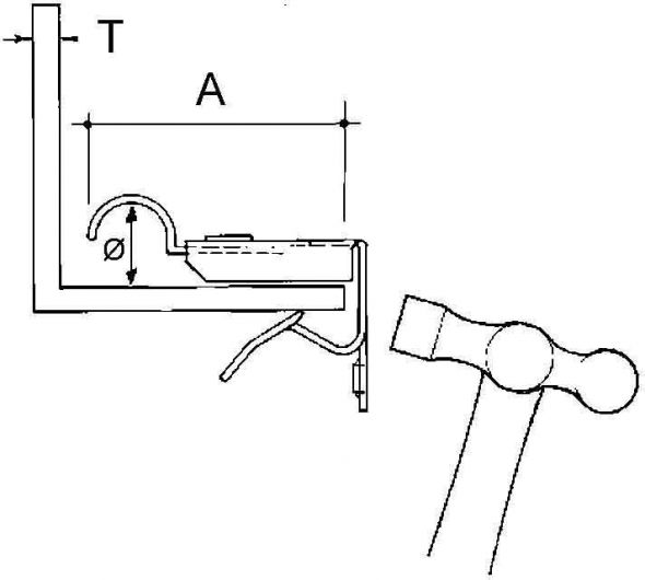
E-Klips, Universal-Flanschkralle mit Rohrschelle, zum Aufschlagen mit dem Hammer auf verschiedenste Trägerflansche, zur Rohrverlegung auf dem Trägerflansch. Abmessungen (ca. Maße) für Flanschstärke T : 14 - 20 mm Mindestflanschlänge innen A : 51 mm für Rohr-Ø : 13 mm Werkstoff : Stahl, mechanisch verzinkt/passiviert nach DIN EN ISO 9227
| Merkmale: | |
| Befestigungsart | Federklemme |
| Anschlussart/-bauteil | Rohr/Kabel |
| Geeignet für Flanschstärke | 14..20 mm |
| Rohr-/Kabeldurchmesser | 13 mm |
| Scharnierend | nein |
| Scharnier justierbar | nein |
| Werkstoff | Federstahl |
| Werkstoffgüte | sonstige |
| Oberflächenschutz | galvanisch/elektrolytisch verzinkt |
NIEDAX GmbH & Co. KG
Asbacher Str. 141
53545 Linz/Rhein
Land: DE
E-Mail: info@niedax.de
www.niedax.de


























